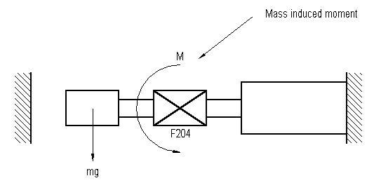
Any angular misalignment of the force and loadcell axis will result in error. This is often not related to the component error which can be calculated by resolving the applied forces into its relevant component. Examples of poor load alignment and generic loadcell types:
Diaphragm

Load Ring

Cylindrical

In-line Cylindrical
